主要研发内容:
ATMT能耗在线监测企业端系统是对企业能源转换、输配、利用和回收实施动态监测和管理,并且能将能源数据上传到省级平台的信息系统。企业采集到原始数据后,按照国家规范进行整合汇总,通过数据应用层HTTPS协议定时下载标准基础数据,并且按照平台下发时间,每日定时向省级平台上传能耗数据,保证省级平台能安全稳定的获取到企业生产消耗的能源数据。
技术方案:
ATMT能耗在线监测企业端系统采用“内网-网闸-外网”结构的“2+1”系统架构,内网主机负责原始数据接入,从企业工业网络采集生产数据,然后通过安全隔离网闸同步到外网主机,再经过外网处理程序的整合分析,形成符合标准的能耗数据上次到省级平台,从而完成数据上传的任务;能耗在线监测端设备具备数据接入、安全隔离、数据处理存储及上传、运维管理等功能,既可以为企业能耗统计提供数据基础,也可以为省级平台掌握企业总能耗提供依据。
核心技术:
1、内外网隔离技术
系统采用“2+1”隔离系统,将内网机部署在企业内网,外网机部署在互联网中,两者通过安全隔离网闸连接,内网机采集到数据通过网闸到外网机后,再进行下一步处理。
2、统一公式计算技术
系统自动依据预先配置好的计算公式,将采集的零散通信变量组合起来,计算得出某一大类能源或者某一区域使用能源的情况,并将该数据作为要上报的原始数据。
3、自动填报技术
如果企业所有通信变量都是自动采集的,可以启用自动填报技术,启用该技术后,每日需要上报的数据不用手动计算,系统在后台自动计算并填充到指定数据表中等待上报到省平台
创新点:
1、 根据下载基础数据和企业行业自动生成工序信息、根据数据上传指标数据分析、数据汇总、自动上报;
2、 根据不同的上报情况通过日历显示不同颜色,直观展示当前上报情况。
数据异常推送:数据上报异常时,邮件发送至指定人员,以便及时响应处理。
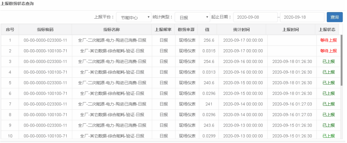
系统展示:










